来源:共享财经
作者:Neo
今年4月,运动巨头品牌耐克向美国专利及商标局申请注册名为Cryptokicks的商标。当时,耐克提出,这个新商标将用于:
加密货币硬软件钱包;用区块链技术管理的加密货币交易软件;提供加密收藏品、加密艺术品和应用token渠道的移动应用;交易、存储、收发和转移数字货币的软件;管理数字货币支付和交易等。
时隔8个月,当地时间12月10日,耐克旗下名为“CryptoKicks”的区块链兼容运动鞋专利申请获得了美国专利局批准。
而通过美国专利局的批准文件,耐克终于揭开了鞋+币的神秘面纱。
炒鞋的归宿可能还是炒币
今年8月,圈内掀起了一股炒鞋潮,由于其极高的投机性和惊人的回报率,一时间响起了“别炒币了,我们去炒鞋”的口号。
彼时,炒鞋身为新的资本游戏,完美复刻了炒币的种种模式,比如稀缺性、转卖手续费、入群验资、庄家散户、抽签、山寨、一级市场、二级市场等等,甚至有App还开起了“炒鞋交易所”,价格走势、盘口、成交量等一目了然,像是在告诉大家“炒鞋,我们是认真的”。
然而,即便如此,炒币和炒鞋仍有较大差距。要知道,由于技术特性,每一枚代币都可追踪溯源,无法作假。而反观炒鞋领域,用户判断鞋真假的唯一方式就是相信交易平台,但即便如此,一些较大的售鞋平台也常常被曝出售卖假鞋的消息。
不过,通过耐克的新专利“CrpytoKicks”,用户以后可能再也不用担心买到假鞋了。
耐克Web3平台.SWOOSH将奖励虚拟运动鞋创作者:金色财经报道,全球鞋业品牌耐克新推出的NFT平台.SWOOSH周三表示,正在邀请用户设计自己的数字可穿戴设备。.SWOOSH 社区成员受邀参加名为#YourForce1 的竞赛,挑战用户在 Instagram 上制作视觉故事板来展示他们的鞋类设计。如果被选中,四名获胜者每人将获得 5,000 美元的奖金,并有机会直接与耐克设计师合作,打造他们自己的一对一数字运动鞋。
耐克补充说,这四种设计可能会成为其计划在不久的将来推出的首个签名系列的一部分。比赛于今天开始,1 月 29 日结束。耐克花了几年时间来研究其 Web3 战略。在11 月发布 .SWOOSH之前,该公司收购了数字时装公司 RTFKT,迈出了进入元宇宙的第一步。2020 年,耐克表示将开始测试与区块链技术相关的 RFID,以追踪供应链流程。[2023/1/26 11:30:37]
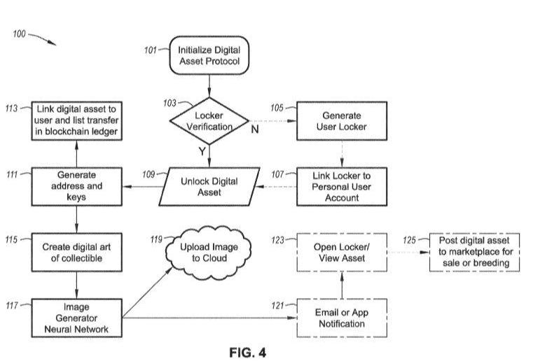
该专利介绍了用于鞋类产品的加密数字资产,制造、使用这种加密数字资产的方法,以及使用区块链控制逻辑的分散计算系统,用于挖掘、混合和交换支持区块链的数字鞋。
分散计算系统还包括一个服务器类(中间件或后端)计算机,该计算机可操作地连接到无线通信设备和加密数字资产注册表。该中间件服务器计算机被编程来执行内存存储的固件和软件,以便通过分布式计算网络从远程计算节点接收电子交易确认,表明已验证的鞋类从一方转移到另一方。
服务器级计算机接收到交易确认后,从加密的关系数据库中检索受让方的唯一所有者ID代码,并生成与鞋类产品相关的加密数字资产。该加密数字资产包括通过具有相应访问密钥的唯一标记代码供应的计算机生成的数字鞋。然后将加密数字资产链接到加密数字资产注册表中的唯一所有者ID代码,并将唯一数字鞋ID代码和唯一所有者ID代码传输到分布式区块链分类账,以便在事务块上进行记录。
耐克已为其Web3平台 .SWOOSH申请加密相关商标:金色财经报道,据美国商标律师MikeKondoudis推特消息,耐克已为其Web3平台 .SWOOSH申请了3个与加密货币相关的商标,涵盖虚拟鞋类、服装、运动装备、虚拟+加密商品市场等。[2022/11/21 7:52:59]
简而言之,就是耐克想要通过区块链技术,实现耐克运动鞋的数字化。将消费者与数字化的耐克鞋绑定,获得一个Token,通过交易?Token?来转让实体鞋的所有权,同时也可实现防伪溯源。

更具体地说,目前描述的技术依赖于区块链技术建立的信任,使公司能够控制代表其品牌数字对象的创建、分发、表达及使用。此外,这项技术还使公司能够限制数字对象的总体供应,以便在需要时创造可控的稀缺性。
在耐克的专利书中,其表示,数字资产具有无限分发、稀缺性差等缺陷,而传统实物市场则充斥着大量的山寨。而数字鞋的出现,则可以改善这种情况。
其表示,耐克可以创建许多具有不同特性、轮廓、颜色等的产品就绪设计,并可以将它们分发到一个或多个数字平台上,然后可以监视不同产品设计或特性的流行度、价值、需求和虚拟使用。通过这样做,耐克可以获得对产品实时需求的有价值的理解,这可能有助于为未来的生产设计确定优先级。
耐克CEO:已经在NFT相关领域看到了积极的势头和能量:4月29日消息,耐克首席执行官John Donahoe在该公司财报电话会议上表示,我们已经在 NFT 相关领域看到了积极的势头和能量,但没有直接回应旗下 NFT 项目CryptoKicks销售置评请求。
此前报道,4 月 27 日,RTFKT x Nike Dunk Genesis CRYPTOKICKS 交易额已突破 1000 万美元,截止目前为 1069 万美元,市值约为 838 万美元,地板价达到 2.25 ETH。该系列迄今交易额最大的是RTFKT x Nike Dunk Genesis UNDD CRYPTOKICKS,该 NFT 以 73.3 ETH 成交,约合 216,362.54 美元。(CBS News)[2022/4/29 2:38:57]
官方手动操控“代币”稀缺性,再加上一旦这类区块链鞋推出,单论其与传统鞋的成本差和差异性,不难想象,这类鞋必将价格不菲,对此,有人感叹,“官方炒鞋,更为致命”。
灵感来源加密猫,以后鞋也能产“崽”
在专利书的参考资料一栏,有一篇GregMcMullen于2017年撰写的“DoYouReallyOwnYourCryptoKitties”的文章。
众所周知,加密猫曾是以太坊上最火爆的Dapp杀手级应用,其除了利用区块链特性为用户创造永久的虚拟宠物之外,还有一个独特玩法,即交配产崽。
在该游戏初始阶段,开发者销售出100个创世猫,同时每隔15分钟还有一个0代猫诞生可以用于买卖。
运动服装巨头耐克收购NFT时装和收藏品初创公司RTFKT:金色财经报道,NFT时装和收藏品初创公司RTFKT在推特上宣布该公司已被耐克收购,交易条款没有披露。据悉,RTFKT的旗舰产品之一是混合NFT/实物鞋类收藏品,其灵感来自传奇的CryptoPunks NFT系列。与此同时,耐克早在2019年就开始探索区块链技术,甚至为代币化的鞋子申请专利。[2021/12/14 7:37:24]
每只猫长相都不同,基因可以传给下一代:如果让两只电子猫交配,生出的孩子会遗传到各自的256个基因组,影响外观、个性、特征等,总计有40亿种变化可能。
而现如今,耐克构想的加密鞋也会拥有这一特性。
据了解,耐克基于以太坊发行数字资产,其技术标准为以太坊?ERC721?或?ERC1155,目前这两个标准也被应用于游戏领域。
当前,多数以太坊token项目是使用的ERC20代币标准,而这些项目的token之间是可互换和可分割的,而对于鞋子这类拥有独一无二属性的资产而言,ERC20代币标准显然并不适用,而ERC-721标准或ERC1155标准,则属于不可互换代币标准,例如加密猫、莱茨狗等区块链游戏就是使用的这类标准。
而在耐克的专利书中,鞋与鞋可以产生“后代鞋”,并有机会变成实体鞋。专利申请书上说:“将数字鞋存储在加密货币钱包或其他数字区块链储物柜中,将数字鞋与另一只数字鞋混合‘繁殖’,可以创造‘鞋后代’。根据鞋子制造规则,可以将新‘繁殖’的鞋子后代定制为新的有形鞋子。”
动态 | 耐克Air Jordan运动鞋支持的加密代币价格下跌10%:据路透社10月16日报道,在NBA和中国之间出现风波之后,一名中国加密货币交易员本月早些时候在发布的微博提到,耐克Air Jordan运动鞋支持的加密代币在美国一家交易所的价格明显下跌了10%。该交易机构对路透表示,很明显,投机客正将资金撤出市场。[2019/10/16]

根据专利书,唯一的数字鞋ID代码包括一个密码令牌密钥,该令牌密钥带有一个代码串,被分割成一系列代码子集,其中第一个多个代码子集包括指示数字鞋属性的数据。而其余代码子集则分别代表了数字鞋的基因、表型数据、配色、材料、模型数据等。

而正是基于此,让加密鞋与加密猫一样,具有多组合型基因以及海量变化的可能,而一旦新的后代鞋繁殖成功,用户则可以根据可接受的鞋子制造规则,为新培育的鞋子后代定制为一双新的、有形的鞋子。
除此之外,一些可选功能还可以包括:
用于在两个或多个数字鞋之间繁殖计划的代孕功能;
由不拥有数字鞋的第三方实体提供的育鞋/保姆功能;
旨在使数字鞋看起来更逼真的动画特征;
值得一提的是,虽然这些虚拟鞋与现实世界的物理产品相关联,并受到密码令牌的保护。但在一些实施例中,数字资产不是与现实世界的物理产品相链接,而是与2D或3D设计文件、呈现或绘图包相链接,物理产品可以从这些设计文件、呈现或绘图包构建。
而数字鞋的“繁殖权”可能受一个或多个现实世界制造限制的约束,每一代数字鞋的所有权,可通过原始关联虚拟产品的加密密钥绑定到原始的物理鞋。
不仅能在市场交易,还能玩游戏
目前为止,我们可以看到,数字鞋和代币共同代表一个“CryptoKick”,而用户可以将自己的CryptoKick绑定到DigitalLocker。
那么,CryptoKick如何在加密货币市场进行交易呢?
耐克的专利书表示,消费者在获取加密鞋之前,首先需要获得一个区块链的寄存地址。这个区块链锁可以用来存储属于CryptoKick的NFT的私钥,也可以链接到物理鞋的原始制造商注册的个人用户帐户。
在获得加密货币后,所有者可以购买、出售、混合、收集或交易加密货币,例如,使用法币和或数字货币。在某些示例中,实体可能维护一个数字在线市场,其中包括一个出售的CryptoKicks库存或一个可以在个人之间进行交易的市场。

而用户的CryptoKick不仅可以繁殖新的数字鞋,还可能会继承加密猫可玩的特性。
耐克表示,至少在某些实现中,可以将CryptoKick编程为“活的”数字宠物,供用户喂养、清洁、娱乐或以其他方式照顾,以确保宠物快乐和健康。所有者可以自己照顾CryptoKick宠物,也可以让第三方用户照顾CryptoKick宠物。
随着CryptoKick宠物的进化——从一个电子宠物婴儿成长为蹒跚学步的幼儿,然后是学龄前儿童,如此等等,直到成年——CryptoKick的一个或多个属性会随着年龄的增长而自动改变,或随着时间的推移而解锁。此外,随着CryptoKick宠物在不同的生命阶段“成长”,它可能会开启一个用户可以制作真实版鞋子的条件。例如,如果一个CryptoKick宠物已经演变成一个蓝色运动鞋,而用户已经解锁了该选项,那么用户则可以选择让耐克制造这一新鞋。
可以看到,在耐克的设想中,如果将CryptoKick视为代币,其既可以在加密货币市场进行交易,也能进行小范围的关于鞋的交易。而如果将CryptoKick视为宠物,其除了繁殖属性之外也可以自然成长。
不仅如此,在某些实现中,用户的CryptoKick可以被导入到一个或多个其他数字平台中,例如,可以作为电子游戏角色的皮肤,由用户开发和/或控制。也可以将CryptoKick导入到游戏中,作为游戏角色的皮肤或者能力属性。

总而言之,在耐克的设想中,CryptoKick可维护稀缺性、可杜绝造假、可交易、可用来玩游戏。而这一设想无疑重塑了传统制鞋厂商的业务流程,也能大大增加耐克的用户粘性。
可以看到,耐克为自己的CryptoKick构想了多重属性和应用场景。对此,为满足耐克的多重设想,有人认为,耐克将来可能会发行以太坊token,而且是采用双token模型:其中一种token对应于实体鞋,而另一种token则对应数字鞋,用户可分开交易它们。
这一设想认为,这两种Token会分别代表实体鞋的价值和品牌价值。实体鞋的价值将接近于耐克生产它的成本,而耐克的品牌价值将完全转移到数字鞋上,这同时就意味着,伪造实体鞋基本已失去了意义。
而在耐克的专利书中,其也表示,“在某些情况下,CryptoKick最初可能与实体产品无关,而是作为品牌推广活动、事件、时刻或体验的一部分赠送给用户。”
目前,耐克关于CryptoKick的构想仍在进行中,虽然一切尚未落地,但显而易见的是,鞋+币的模式已经初具雏形,而就目前来看,这一模式具有太多可能。
标签:TOKCRYCRYPTOKIimtoken钱包有客服吗Brave Power CrystalEncryptoTelWrapped Basic CryptoKitties
作者:?ThomasJayRush翻译&校对:?曾汨&阿剑来源:以太坊爱好者每当以太坊的定时炸弹爆炸时,总会有两个问题出现在我们面前.
1900/1/1 0:00:00数字资产的数据是很复杂的,不应该按表面价值计算。原文作者:富达数字资产研究总监RiaBhutoria数字资产数据在原始和未经过滤的形式下,可能会是误导人的.
1900/1/1 0:00:00编者注:原文刊于《企业家项目》,这是一个帮助首席信息管和IT领导者解决各种问题的社区。作者为凯文·凯西,作者曾获得美国商业出版编辑协会颁发的Azbee奖,曾是“小型企业影响力奖”的获奖者.
1900/1/1 0:00:00在最近的以太坊开发者会议当中,关于难度炸弹的话题成为了讨论焦点,根据规则,冰河期到来后,每100,000个区块,以太坊网络难度就会增长一次,如果持续下去.
1900/1/1 0:00:00作者:?JimMcDonald翻译&校对:?闵敏?&阿剑来源:以太坊爱好者权益证明对于所有区块链来说,核心竞争力都是保证自身安全性的能力.
1900/1/1 0:00:00写在前面:本文作者为投资公司OutlierVentures的分析师JoelJohn。他在文章中分析了主流稳定币在2019年的交易情况,得出的结论为:尽管USDT依然占据重要地位,但DAI是除US.
1900/1/1 0:00:00